
聯系我們
INA MVZ7040

- 型號:
- MVZ7040
- 品牌:
- INA
- 系列:
- MVZ
- 起訂量:
- ≥ 1套
- 物流:
- 全國配送

- 電話:

恩梯必專業銷售INA MVZ7040,能為客戶提供各種技術服務,軸承選型及型號替代等解決方案,需要MVZ7040最新規格、圖紙、報價等資料可聯系我司銷售部!
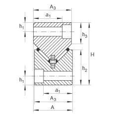
- 尺寸
- Lmax
- 1300
- mm
- 說明
- 37)
- 用于刮削器的孔,終端件
- 38)
- 孔的類型15
- 39)
- 孔的類型10
- 4)
- 標記
- 40)
- 孔的類型03
- 尺寸
- A3
- 40
- mm
- a1
- 29
- mm
- amin
- 1.3 x 45
- C4
- 100
- mm
- C5 min
- 20
- mm
- C6 min
- 20
- mm
- h1
- 13
- mm
- h2
- 40
- mm
- h3
- 24
- mm
- K1
- M10
- K3
- M6
- tmin
- 25
- mm
- 說明
- 帶密封條設計
- 尺寸
- A
- 40
- mm
- H
- 70
- mm
- 公差: -0,2
相關型號推薦:
23960-B-K-MB+AH3960G
23964-K-MB+AH3964G
23972-K-MB+AH3972G
23976-K-MB+AH3976G
23980-B-K-MB+AH3980G
23984-K-MB+AH3984G
23988-K-MB+AH3988
23992-B-K-MB+AH3992
23996-B-K-MB+AH3996
239/500-K-MB+AH39/500
239/530-K-MB+AH39/530
239/560-B-K-MB+AH39/560
239/600-B-K-MB+AH39/600
239/630-B-K-MB+AH39/630
239/670-B-K-MB+AH39/670
熱門型號排行榜: FAG AH39/950-H FAG AH39/950G FAG AH39/1000G FAG AH39/1000G-H FAG AH39/1000-H FAG AH39/1060G-H FAG AH39/1060-H FAG AH39/1060G FAG AH39/1120G-H FAG AH39/1120-H FAG AH39/1120G FAG AH39/1180G
熱門型號排行榜: FAG AH39/950-H FAG AH39/950G FAG AH39/1000G FAG AH39/1000G-H FAG AH39/1000-H FAG AH39/1060G-H FAG AH39/1060-H FAG AH39/1060G FAG AH39/1120G-H FAG AH39/1120-H FAG AH39/1120G FAG AH39/1180G
FAG軸承型號搜索
FAG-INA軸承產品中心
產品中心
產品搜索
類別目錄
四川恩梯必有限公司 版權所有






